Сборка карданной передачи
Карданные валы собирают в последовательности, обратной разборке, с учетом следующих указаний: на шлицевые соединения наносят смазочный материал Фиол-1; при соединении деталей совмещают метки, нанесенные на разъемные детали перед разборкой; после сборки шлицевого соединения, прижимая сальник на 0,3-0,5 мм осевой нагрузкой, обжимают обойму на проточке вилки; гайку крепления вилки переднего карданного вала затягивают динамометрическим ключом (см. приложение) и зачеканивают. При сборке промежуточной опоры подшипник запрессовывают оправкой А.70045, а опору с подшипником на вал устанавливают оправкой А.74035.
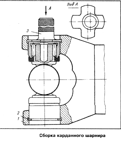
Карданный шарнир собирают в следующем порядке. Удалив старый загустевший смазочный материал, заполняют полости в шипах крестовины и смазывают внутреннюю поверхность корпусов подшипников смазочным материалом Фиол-1 (0,4-0,6 г на каждый подшипник). Во избежание образования воздушной полушки при сборке шипы крестовины не смазывают. Вставляют шипы крестовины в вилку, надевают корпуса подшипников с иглами на шипы крестовины и запрессовывают в отверстие вилки усилием 7840-9800 Н, устанавливают на прежние места согласно меткам стопорные кольца в проточках вилки.

В случае замены деталей карданного шарнира стопорные кольца по толщине подбирают калибром 41.7834.4092 (для старой крестовины), который имеет четыре лепестка разной толщины (1.53; 1,56; 1,59; 1,62 мм). Калибр для новой крестовины имеет семь лепестков толщиной 1,45; 1,48; 1,52; 1,56; 1,60; 1,64; 1,67 мм. Для этого в вилку 1 устанавливают стопорное кольцо 2 толщиной 1.56. При запрессовке подшипников, когда крестовина упирается в корпус подшипника (в этом случае зазора нет), калибром 3 определяют расстояние между корпусом подшипника и торцом кольцевой канавки. В зависимости от замеренного расстояния с учетом осевого зазора, равного 0,01-0,04 мм, вставляют второе стопорное кольцо соответствующей толщины.
Установив стопорные кольца, ударяют по вилкам молотком с пластмассовым бойком. Под действием удара и упруго сжатых сальников зазор между донышком подшипника и стопорным кольцом выбирается и появляются зазоры между корпусами подшипников и торцами шипов крестовины. После сборки проверяют легкость проворачивания вилок шарнира.