Особенности ремонта 5-ти ступенчатой коробки передач
Разборка. Прежде чем снимать заднюю крышку, устанавливают рычаг переключения передач в нейтральное положение, отвертывают гайки крепления механизма выбора передач и снимают рычаг переключения в сборе с механизмом. Затем отсоединяют гайки крепления задней крышки и снимают ее. Одна из гаек крепления крышки отвертывается изнутри картера коробки передач при снятой нижней крышке. При снятии задней крышки ее необходимо подавать не только назад, но и поворачивать, чтобы исключить ее задевание за блок шестерен заднего хода и V передачи.

После снятия с вторичного вала внутреннего кольца заднего подшипника и ведущей шестерни 11 привода спидометра ослабляют болты крепления крышки фиксаторов и отвертывают болт 22 крепления блока шестерен и болт крепления вилки включения V передачи и заднего хода. Снимают маслоотражательную шайбу 9, а затем втулку шестерни 8 V передачи. Вынимают шток 2 из вилки 3. Затем следует снять со шлиц промежуточного вала блок шестерен 1.

Снимают одновременно промежуточную шестерню 1 заднего хода с оси, шестерню 3 в сборе и с муфтой 2 и вилкой 4 с вторичного вала. Снимают с вторичного вала шайбу 5, а затем с помощью фигурных оправок типа отверток снимают со шпонки ступицу синхронизатора V передачи и ведомую шестерню заднего хода.

Дальнейшую разборку коробки передач проводят в порядке, описанном для четырехступенчатой коробки передач.

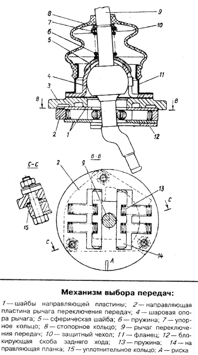
При необходимости разбирают рычаг и механизм выбора передач, для чего: снимают защитный чехол 10, стопорное и упорное кольца 8 и 7, пружину и сферическую шайбу 5 с рычага переключения; отмечают визуально расположение деталей относительно риски А, нанесенной на направляющей пластине, чтобы при сборке соединить детали в том же положении; отвернув гайки с болтов крепления, разъединяют детали механизма выбора передач и снимают рычаг 9, его шаровую опору 4 и резиновые уплотнительные кольца 15.
Сборка. Последовательность сборки пятой ступени, задней передачи и механизма выбора передач проводится в обратном порядке разборке с учетом следующего: ось промежуточной шестерни заднего хода крепят до установки валов в картер коробки передач моментом 8 кгс o м; перед установкой штока вилки включения V передачи и заднего хода в картер устанавливают на него дистанционную втулку; внутреннее кольцо подшипника напрессовывают на блок шестерен V передачи и заднего хода, а наружное - в гнездо задней крышки; задний подшипник вторичного вала напрессовывают на вал для облегчения установки задней крышки; промежуточную шестерню 1 заднего хода, шестерню 3 и вилку 4 устанавливают одновременно; при сборке рычага переключения передач покрывают смазкой ЛСЦ-15 шаровую головку или сферу шаровой опоры; болт крепления блока шестерен затягивают моментом 7,84 Н-м.